MIL-J-7093A (Weps)

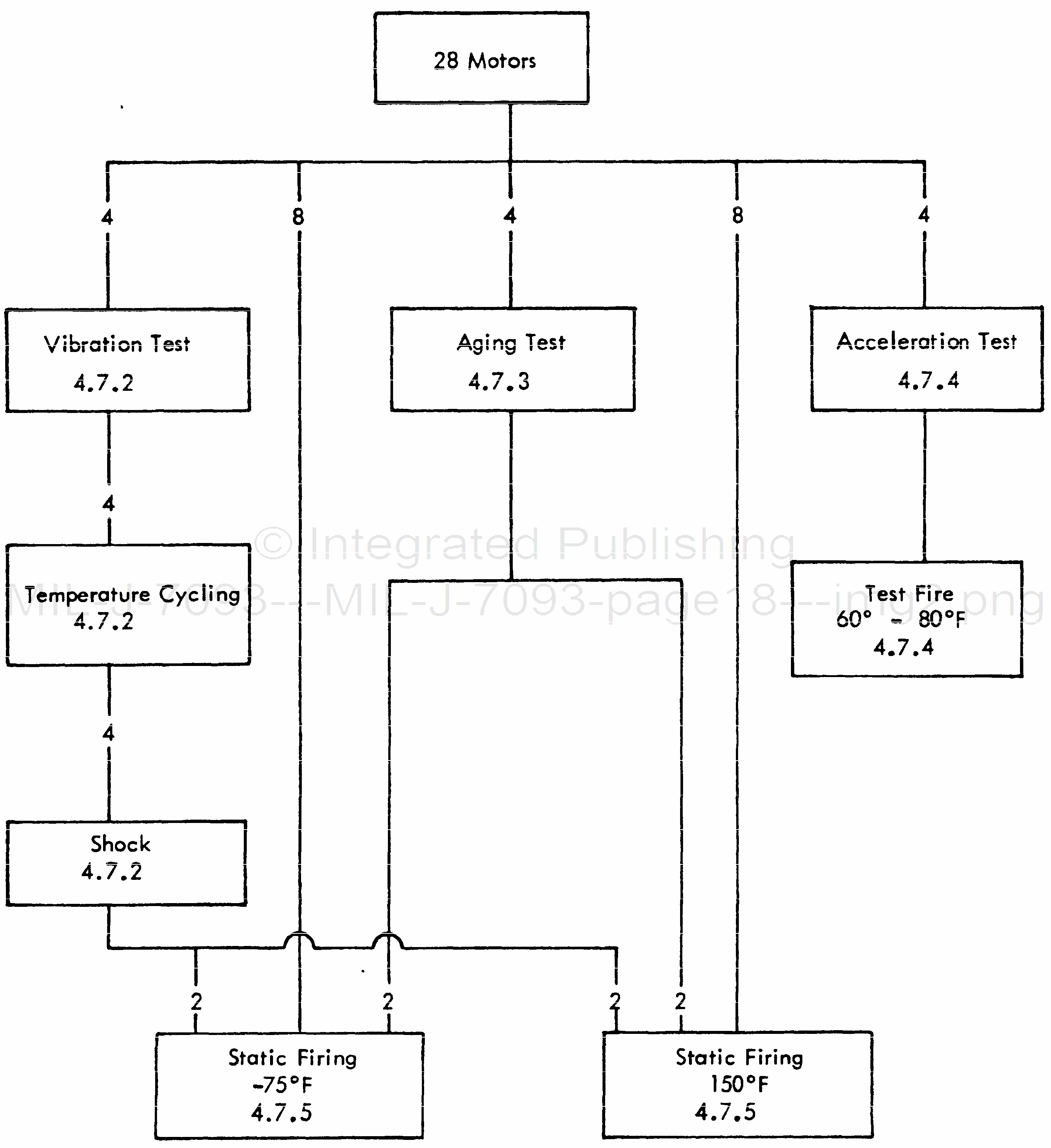
Figure 1
PREPRODUCTION TEST SCHEDULE
18
For Parts Inquires call Parts Hangar, Inc (727) 493-0744
© Copyright 2015 Integrated Publishing, Inc.
A Service Disabled Veteran Owned Small Business
MIL-J-7093A (Weps)

Figure 1
PREPRODUCTION TEST SCHEDULE
18